Löggiltir fasteignasalar innan Félags fasteignasala:
Knútur Bjarnason
Rúnar Þór Árnason
Gunnar Sv. Friðriksson
Hólmar Björn Sigþórsson
Linda Björk Ingvadóttir
Kristján Þór Sveinsson
María Steinunn Jóhannesdóttir
Ragnheiður Árnadóttir
Vista
atvinnuhúsnæði

Vesturbakki 10 - 0102

815 Þorlákshöfn

23.900.000 kr.

528.761 þ.kr./m2
Fasteignanúmer

F2533383

Fasteignamat

907.000 kr.

Brunabótamat

0 kr.

Áhvílandi

0 kr.

Arion banki – Reikna lán
Upplýsingar
svg
45,2 m²
svg
0 herb.

Lýsing

Helgafell fasteignasala kynnir:  Vesturbakki 10a, bil 102, Þorlákshöfn

Um er að ræða glæsilegt forsteypt atvinnuhúsnæði í nýju og vaxandi atvinnusvæði í Þorlákshöfn sem gæti hentað ýmiskonar þjónustu- eða iðnaði. 
Getur hentað vel fyrir heildsölur, verktaka, þjónustufyrirtæki, dótakassi og fl. og fl. -  þar sem hljóðvist og ending skiptir máli.

     -  alls 33 atvinnubil.

Um eignina Vesturbakka 10
Samkvæmt skráningu FMR er heildarstærð eignar 1.635,9 fm, sem skiptist í 33 atvinnuhúsnæði af mismunandi stærðum og útfærslum.
Húsið býður upp á fjölbreytta möguleika fyrir fyrirtæki og einstaklinga sem vilja tryggt, nútímalegt og vel staðsett geymslu- og/eða atvinnuhúsnæði.

Lýsing:
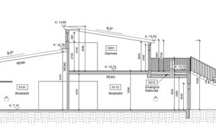
Bilið er með 3,5 m aksturshurð og mikilli lofthæð sem rúmar milliloft, (hæsti punktur 5,37fm.).  Auðvelt að gera milliloft með að bolta í steypta veggi.  Steyptir brunaveggir milli bila. Loft er gipsklætt.  Tenging fyrir ræstivask til staðar.  Möguleiki á salerni og vask í bilinu (tengingar til staðar).  Sér rafmagnsinntak er í bilinu.
Birt stærð er 45,2fm.

Almenn lýsing skv. skilalýsingu
  • Byggt á staðsteyptum sökkli og forsteyptum samlokueiningum frá BM Vallá
  • Þak: yleiningar yfir 3,5 m bílskúrsbilum og sperruþak yfir 2. hæð
  • Útveggir: Svört álklæðning á 2.hæð, 1.hæð máluð í hvítum lit, útveggir RAL 9010
  • Aksturshurðir: 3,5 m (RAL 9005) frá Litháen
  • Gluggar og hurðir: ál/tré, RAL 9005
  • Frárennslis- og regnvatnslagnir fullfrágengnar
  • Möguleiki á salerni og vaski í hverju bili
  • 1. hæð: veggofnar
  • 2. hæð: gólfhiti í öllum bilum
  • Gólfniðurfall innan aksturshurðar
  • Lóð: malbikuð og snyrtileg
Áætluð afhending vor 2026.

Kaupandi greiðir skipulagsgjald (0,3% af væntanlegu brunabótamati) þegar það er lagt á.

Fyrir nánari upplýsingar hafið samband við sölumenn
Helgafell fasteignasala - Sími: 566 0000

----------------------------------------------------------
Heimasíða Helgafells fasteignasölu
Facebook síða Helgafells

- Hafðu samband og við gerum söluverðmat á eign þinni, þér að kostnaðarlausu -

Gjöld sem kaupandi þarf að standa straum af vegna kaupa á fasteign:

1. Stimpilgjald af kaupsamningi - 0,8% af fasteignamati fyrir einstaklinga (0,4% fyrir fyrstu kaupendur) og 1,6% fyrir lögaðila.
2. Þinglýsingargjald af kaupsamningi, veðskuldabréfi, mögulegu veðleyfi o.fl. - 3.800 kr. af hverju skjali.
3. Lántökugjald lánastofnunar - almennt í kringum 50þ., oft lægra eða ekkert lántökugjald fyrir fyrstu kaup. Nánari upplýsingar á heimasíðum lánastofnana.
4. Þjónustusamningur milli kaupanda og fasteignasölu - Kr.  92.380,- m/vsk.

Helgafell fasteignasala bendir kaupendum á ríka skoðunarskyldu sem kveðið er á í lögum um fasteignakaup nr.40/2002. Skorað er á kaupendur að kynna sér vandlega ástand fasteigna og nýta til þess aðstoð sérfræðinga.  Sömuleiðis er bent á upplýsingaskyldu seljanda samanber 26.gr. Laga nr.40/2002 um fasteignakaup og 25.gr. laga nr.26/1994 um fjöleignarhús. Seljanda er bent á að kynna sér tilvitnaðar lagagreinar.

img
Rúnar Þór Árnason
Lögg.fasteignasali innan félags fasteignasala
Helgafell fasteignasala ehf.
Stórhöfði 33, 2. hæð, 110 Reykjavík
Helgafell fasteignasala ehf.

Helgafell fasteignasala ehf.

Stórhöfði 33, 2. hæð, 110 Reykjavík
img

Rúnar Þór Árnason

Stórhöfði 33, 2. hæð, 110 Reykjavík
Helgafell fasteignasala ehf.

Helgafell fasteignasala ehf.

Stórhöfði 33, 2. hæð, 110 Reykjavík

Rúnar Þór Árnason

Stórhöfði 33, 2. hæð, 110 Reykjavík